Section 2.11
Fuel Filter Bracket
The removal and installation procedures remain the same for the non-EGR and EGR fuel filter assembly; however, because of the fuel filter's new location on an EGR engine, there are modified mounting bracket changes.
Section 2.11.1
Non-EGR Fuel Filter Bracket Removal
Remove the Non-EGR fuel filter bracket as follows:
|
PERSONAL INJURY |
|
To avoid injury from the sudden release of a high-pressure hose connection, wear a face shield or goggles. |
- Remove the fuel filter housing from the mounting bracket. Refer to "2.10.1 Fuel Filter Housing Removal " .
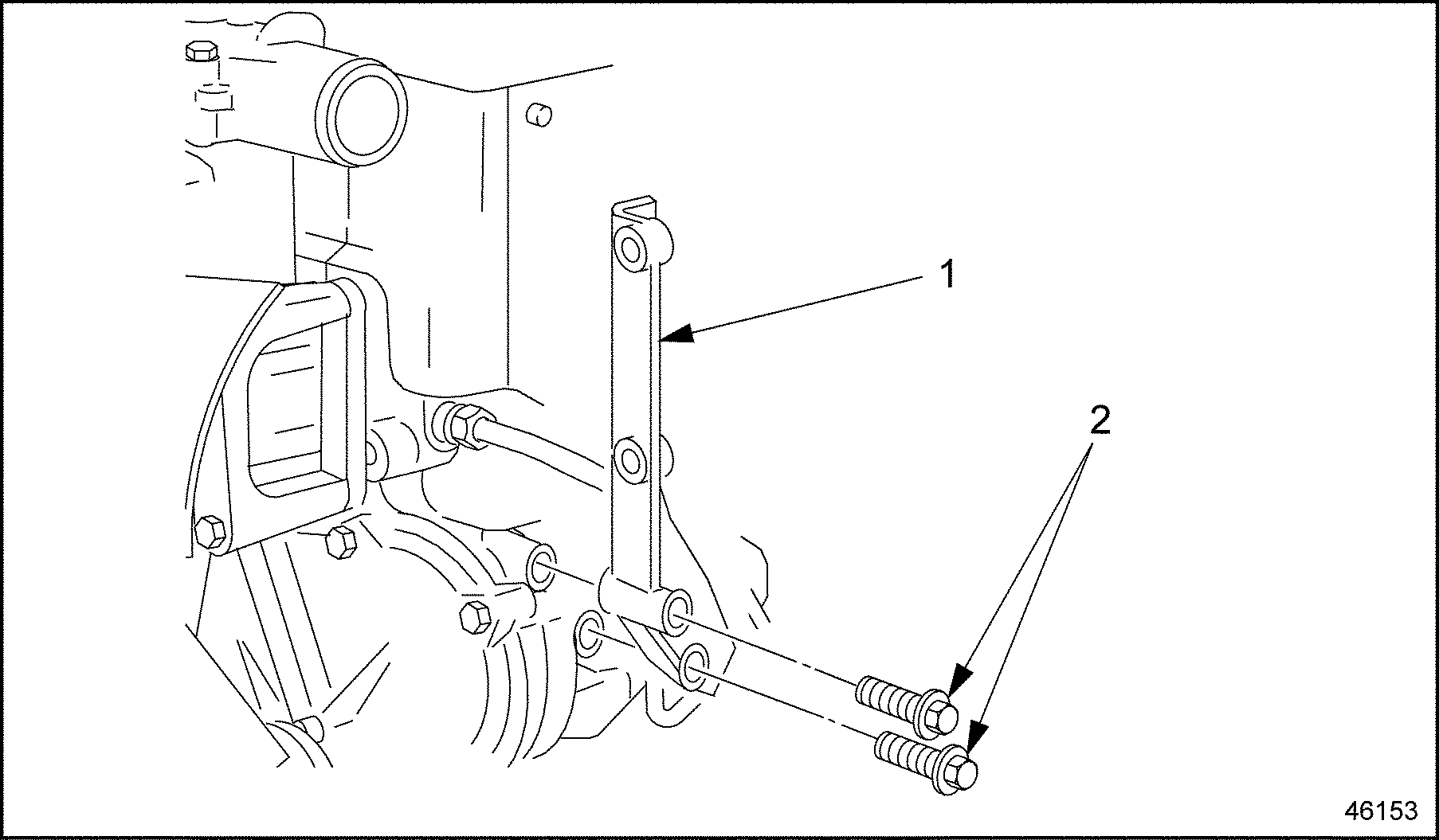
- Remove the two filter bracket mounting bolts from bracket and block and remove the filter bracket. See Figure
"Non-EGR Engine Fuel Filter Housing"
.

1. Fuel Filter Housing Mounting Bracket
2. Bolts
Figure 1. Non-EGR Fuel Filter Bracket
Section 2.11.2
Non-EGR Fuel Filter Bracket Installation
Install the non-EGR fuel filter bracket as follows:
- Install the fuel filter bracket to the block using two fuel filter bracket mounting bolts. Torque bolts to 50 N·m (37 lb·ft). See Figure "Non-EGR Fuel Filter Bracket" .
- Install the fuel filter housing to the mounting bracket. Refer to "2.10.2 Fuel Filter Housing Installation" .
Section 2.11.3
EGR Fuel Filter Bracket Removal
Remove the EGR fuel filter bracket as follows:
- Remove the fuel filter housing from the mounting bracket. Refer to "2.10.1 Fuel Filter Housing Removal
"
.

1. Fuel Filter-to-Bracket Mounting Bolts
3. Fuel Filter Bracket Mounting Bolts
2. Fuel Filter Mounting Bracket
Figure 2. EGR Fuel Filter Bracket
- Remove the three filter bracket mounting bolts from bracket and block and remove the filter bracket. See figure "EGR Fuel Filter Bracket" .
Section 2.11.4
EGR Fuel Filter Bracket Installation
Install the EGR fuel filter bracket as follows:
- Install the fuel filter bracket to the block using the three 8 mm x 90 mm fuel filter bracket mounting bolts. Torque the bolts to 25 N·m (18 lb·ft). See figure "EGR Engine Fuel Filter Housing" .
- Install the fuel filter housing to the mounting bracket. Refer to "2.10.2 Fuel Filter Housing Installation" .
| MBE 4000 Service Manual - 6SE412 |
| Generated on 10-13-2008 |