Section 1.20
Cylinder Liner
The cylinder liner is of the replaceable wet type, made of hardened alloy cast iron, and is slip fit in the cylinder block. See Figure "Cylinder Liner and Related Parts" .

|
1. Crevice Seal |
4. D-ring Grooves |
|
2. Crevice Seal Groove |
5. D-ring Seals |
|
3. Cylinder Liner |
|
Figure 1. Cylinder Liner and Related Parts
Coolant in the cylinder block water jacket surrounds the liner and cools it directly. A cooling channel is also cut into the liner immediately below the flange. Coolant flow through this channel and around the rest of the liner controls critical ring and liner temperatures for long cylinder component life.
The liner is inserted in the cylinder bore from the top of the cylinder block. The flange at the top of the liner fits into a counter bore in the cylinder block. See Figure "Cylinder Liner Installation" .

|
1. Rear Main Bearing Cap |
4. Crevice Seal |
|
2. Oil Galleries |
5. D-ring Seals |
|
3. Cylinder Liner |
6. Integral Coolant Inlet Manifold |
Figure 2. Cylinder Liner Installation
NOTICE: |
|
The crevice seal prevents coolant from being pumped in and out of the area adjacent to the liner lower block location which could result in cavitation and corrosion damage to the liner and the block. |
A crevice seal, fitting in the wide uppermost groove in the liner helps to stabilize the liner in the cylinder block bore.
This seal also keeps any debris that is in the cooling system from causing abrasion damage to the upper "D" liner seal ring. See Figure "Cylinder Liner Crevice Seal Cross Section" .

Figure 3. Cylinder Liner Crevice Seal Cross Section
Two Teflon-coated, D-shaped seal rings, recessed in the lower two grooves in the cylinder liner, are used between the liner and the block to prevent coolant and oil leakage. See Figure "Cylinder Liner Seal Ring Cross-Section" .

Figure 4. Cylinder Liner Seal Ring Cross-Section
A weep hole for each cylinder is drilled through the cylinder block exterior, into the cylinder bore area. This weep hole is located between the two D-shaped seal rings. It is used to determine if engine coolant is leaking past the upper liner seal, or if oil is leaking past the lower liner seal. See Figure "Weep Hole Plug Locations" . A special rubber plug prevents dirt from getting into the "D" seal ring areas and causing abrasive damage. At the same time it allows leaking oil or coolant a path out of the engine for detection.

Figure 5. Weep Hole Plug Locations
Section 1.20.1
Repair or Replacement of Cylinder Liner
To determine if repair is possible or replacement is necessary, perform the following procedure. See Figure "Flowchart for Repair or Replacement of Cylinder Liner" .

Figure 6. Flowchart for Repair or Replacement of Cylinder Liner
Section 1.20.2
Cleaning and Removal of Cylinder Liner
Precleaning is not necessary.
NOTICE: |
|
The proper method must be followed when removing a cylinder liner. Damage to the liner and the cylinder block may occur if the proper tools and procedures are not used. |
- Remove the piston and connecting rod as an assembly. Refer to "1.18.2 Cleaning and Removal of Piston and Connecting Rod" .
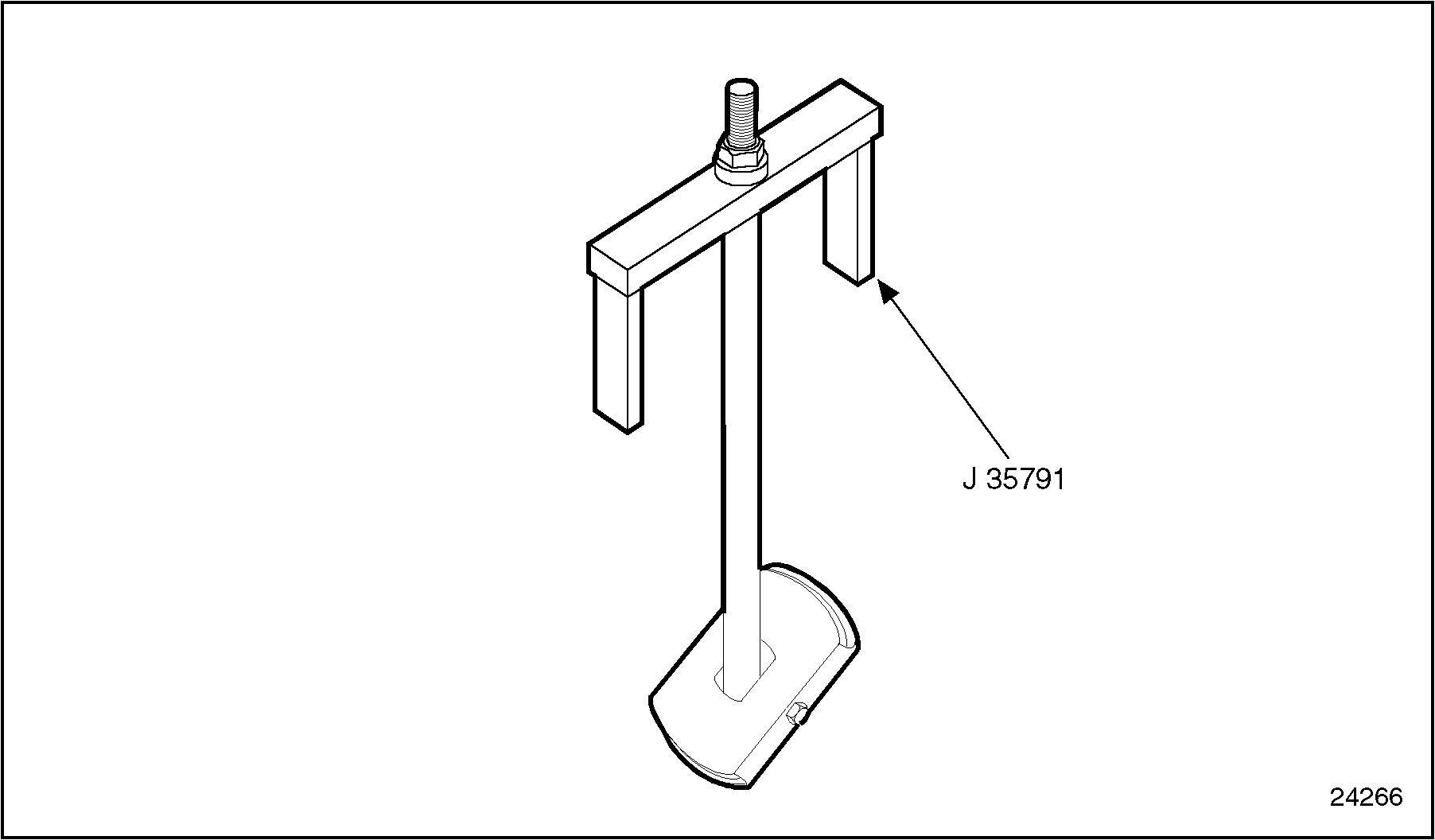
- Remove the cylinder liner with cylinder liner remover, J 35791
. See Figure
"Cylinder Liner Remover"
and see Figure
"Cylinder Liner Removal Tool"
.

Figure 7. Cylinder Liner Remover

Figure 8. Cylinder Liner Removal Tool
- Ease the shoe of the liner removal tool down into the liner.
- Place the shoe into the bottom edge of the liner.
- Turn the nut on the tool in a clockwise direction to remove liner from the block.
- Remove the tool from the liner
- Remove the seals (all 3) from the liner and discard them.
Note: After removing liners from an engine and prior to installing liners, always store them in an upright position until ready for use. Liners left on their side for any length of time can become egg-shaped and distorted, making installation in cylinder bores difficult or impossible. If the cylinder liners are to be reused, they should be marked so they may be installed to the same cylinder from which they were removed.
Clean the cylinder liner prior to inspection as follows:
- Wash new and used cylinder liners with a strong detergent and warm water solution. Scrub the cylinder liners with a non-metallic bristle brush.
- Rinse the cylinder liners with hot water or steam.

EYE INJURY
To avoid injury from flying debris when using compressed air, wear adequate eye protection (face shield or safety goggles) and do not exceed 276 kPa (40 psi) air pressure.
- Dry the liner with compressed air.
- Coat the bore of the liner with clean engine lubricating oil.
- Allow the liner to sit for 10 minutes (to allow the oil to work into the surface finish).
- Wipe the inside of the liner with clean, white paper towels.
- If a dark residue appears on the towels, repeat the oiling and wiping procedure until residue no longer appears.
NOTICE: |
|
If the liners are not to be installed at this time, oil them lightly with clean engine lubricating oil and store them upright in a clean, dry area. Do not allow the liners to rest on their sides and do not store anything on top of the liners. |
Section 1.20.2.1
Inspection of Cylinder Liner
Inspect the cylinder liner as follows:
- Inspect the cylinder liner.
- Check the cylinder liner for cracks or scoring.
- If any of these are detected, replace with a new part.
- Check the cylinder liner for cavitation erosion. See Figure "Cavitation Erosion" .
- If cavitation erosion occurs, replace with a new part. Refer to "1.20.3 Installation of Cylinder Liner" .
NOTICE:
Series 50 Engines cylinder liners are honed at the factory with a process that cannot be duplicated in the field. For this reason, honing of used liners should not be attempted.

1. Cracks
3. Erosion
2. Cylinder Liner
Figure 9. Cavitation Erosion
NOTICE:
Erosion is due to poor cooling system maintenance. If uncorrected, it will eventually make holes through the liner. This can result in combustion gases blowing water out of the radiator, oil in the coolant, or when the engine is stopped will allow water to flow into the cylinder and result in major engine damage due to water in the oil or hydraulic lockup.
- Inspect the outside diameter of the liner.
- Check liner for fretting.
- If any fretting is found, remove it from the surface of the liner with a coarse, flat stone.
- Inspect the liner flange.
- Check the liner flange for cracks, smoothness and flatness on both the top and bottom surfaces.
- If these are detected, replace with a new part.
- Inspect the block bore and cylinder liner.
- Measure the block bore and the outside diameter of the liner. Refer to "1.1.4.1 Inspection of the Cylinder Block" . The liner specifications are listed in Table "Cylinder Liner" . The block specifications are listed in Table "Cylinder Block" in refer to "Additional Information" .
- If the liner does not meet specs, replace with a new part.
- Inspect inside diameter of cylinder liners.
- Set the cylinder bore gage on zero in master setting fixture. Use cylinder bore gage, J 5347-B , to measure diameter of the liner of various points. The maximum diameter of a used liner after is 130.100 mm (5.122 in.) at any measurement location. See Figure "Cylinder Liner Measurement Diagram" . Also check the liner for taper and out-of-round.
- If the taper and out-of-round exceed 0.025 mm (0.0001 in.), replace with a new part.

Figure 10. Cylinder Liner Measurement Diagram
- Inspect the cylinder liner.
- Check the seal ring and crevice seal grooves for burrs or sharp edges.
- If any are detected, smooth with an emery cloth.
Section 1.20.3
Installation of Cylinder Liner
Install the cylinder liner as follows:
- Wipe the inside and outside of the liner clean. Be sure the block bore and counter bore are clean, so the liner flange will seat properly. The block counter bore depth must be 8.9246-8.9746 mm (0.3514-0.3533 in.) and must not vary more than 0.04 mm (0.0015 in.) in depth around the circumference. No two adjacent block counter bores may range in depth more than 0.025 mm (0.001 in.) when gaged along the longitudinal cylinder block centerline.
Note: Thoroughly clean the cylinder block liner counter bores to remove any foreign material. Foreign material in the cylinder liner counter bores can cause the liner to seat improperly.
Note: If the firedeck surface of the cylinder block has been machined, the counter bores must be machined the same amount to keep the cylinder liner counter bore depth within limits.
- Lubricate the seal rings and crevice seal with clean petroleum jelly.
- Install two new seal rings and a new crevice seal into their respective grooves in the liner.
- Insert the cylinder liner into the cylinder bore.
Note: Do not exert excessive force on the liner, while pushing it down.
- Install the cylinder liner installation tool, J 35597–A
, over the liner to be installed. See Figure
"Cylinder Liner Installation Tools"
.
Note: It is necessary to leave the cylinder liner installation tool in place until after the liner protrusion is measured.

Figure 11. Cylinder Liner Installation Tools
- Thread three cylinder head bolts through the tool and into a head bolt hole, so that the round shoe of the tool is centered over the liner.
- Tighten the bolts.
Note: It is not necessary to torque the bolts.
- Turn the threaded center bolt in a clockwise direction. As the round shoe of the tool reaches the liner, ensure that the shoe is properly positioned into the cylinder liner.
- Continue turning the bolt until the liner bottoms in the cylinder counterbore. Apply a tightening torque of 60 N·m (44 lb·ft) to the installation tool center bolt.
- Install a dial indicator sled gage. See Figure "Cylinder Liner Installation Tools" .
- Measure the distance from the top of the liner flange to the top of the block. See Figure
"Cylinder Liner Protrusion"
.
- Allowable liner protrusion is -0.0127-0.0762 mm (-0.0005-0.003 in.) with no more than 0.05 mm (0.002 in.) variation between any two adjacent cylinders.
- If the liner protrusion exceeds the maximum allowable, remove the liner and check for debris under the liner flange.

Figure 12. Cylinder Liner Protrusion
- Remove the cylinder liner tool.
- With all of the cylinder liners installed and the liner protrusion measurements within specifications, install the piston and connecting rod assemblies. Refer to "1.18.5 Installation of Piston and Connecting Rod Assembly" .
- Refer to "11.8 Engine Run-in Instructions" for verification of proper cylinder liner installation.
| Series 50 Service Manual - 6SE50 |
| Generated on 10-13-2008 |